Nguyên lý phương pháp
Nguyên lý cơ bản của phương pháp là kéo giãn đồng thời hai mẫu thử: một mẫu có đường may và một mẫu không có đường may. Hai mẫu được kẹp và kéo ở tốc độ không đổi, tạo ra hai đường cong lực-biến dạng xuất phát từ cùng một gốc (khi dùng thiết bị ghi biểu đồ). Độ trượt chỉ tại đường may được xác định bằng lực cần thiết để tạo ra một khoảng cách (mức độ mở đường may) nhất định giữa hai đường cong này.
Thiết bị và vật liệu
Các thiết bị và dụng cụ chủ yếu bao gồm:
-
Máy thử kéo (CRE) chuyên dụng: Máy thử kéo một chiều (constant-rate-of-extension) có khả năng kéo giãn với tốc độ không đổi 50 ± 5 mm/phút. Máy phải có hệ thống ghi lại lực kéo và độ giãn, đạt độ chính xác loại 1 theo ISO 7500-1 (lỗi lực tối đa ≤ ±1%, lỗi giãn ≤ ±1 mm).
Phần mềm máy tính phải làm được điều sau: Vẽ được 2 đường biểu đồ tương ứng với lúc khi kéo có đường may và không có đường may. Dừng chính xác lực ở 200N, kiểm tra so sánh độ mở đường may lớn nhất giữa 2 đường biểu đồ này để tính toán kết quả. ( Lưu ý: phải cài đặt được bù độ trượt đường may 4.5N trước khi test)
-
Ngàm kẹp mẫu chuyên dụng: Kẹp mẫu có mặt phẳng hoặc mặt khắc (để tăng ma sát) giữ vải không bị trượt. Và có thể má kép phải phủ cao su để chống trượt. TỐT NHẤT NÊN SỬ DỤNG NGÀM KẸP HƠI.
Một má kẹp 25 × 25 mm và một má kẹp ít nhất 25x50 mm được sử dụng để kẹp mẫu.
-
Máy may một kim: Máy may điện một kim, kiểu stitch 301 (lock stitch) theo ISO 4915:1991.
-
Kim và chỉ may: Chọn kim may phù hợp (ví dụ kim cỡ 90/14 theo Bảng 1). Sử dụng chỉ may 100% polyester lõi cốt (filament core spun) tuyến tính khoảng 45 tex (theo khuyến nghị cho vải may mặc).
-
Thước cặp hiệu chuẩn: Thước chia độ nhỏ nhất 0,5 mm để đo khoảng cách đường may và các kích thước mẫu. ( Có thể dùng thước lá )
-
Thiết bị cắt mẫu: Dao cắt, kéo chuyên dụng để cắt mẫu thử theo kích thước yêu cầu mà không làm xơ vải.
-
Phụ kiện khác: Phụ kiện kẹp (giấy, da, cao su) có thể dùng để gia tăng ma sát nếu cần.
Mẫu thử
Lấy mẫu
Mẫu thử được lấy từ lô vải đã qua lựa chọn, tuân thủ quy định kỹ thuật của sản phẩm hoặc thỏa thuận giữa các bên. Nếu không có chỉ dẫn, có thể áp dụng hướng dẫn tham khảo tại Phụ lục A của ISO 13936-1. Cần tránh lấy mẫu ở mép vải, vùng có nếp gấp hoặc các khu vực không đại diện cho tính chất chung của vải.
Điều kiện thử nghiệm
Trước khi thử, các mẫu phải được điều kiện trong phòng thử tiêu chuẩn theo ISO 139 (nhiệt độ 20°C ±2°C, độ ẩm 65% ±4%). Điều kiện này đảm bảo độ ẩm và nhiệt độ ổn định, tránh ảnh hưởng của biến dạng ban đầu.
Tiền xử lý mẫu
Nếu cần, mẫu vải có thể được xử lý trước (giặt hoặc giặt khô) bằng quy trình đã thống nhất giữa các bên (ví dụ theo ISO 6330 hoặc ISO 3175-2). Việc này nhằm đảm bảo mẫu thử tương ứng với điều kiện sử dụng thực tế.
Chuẩn bị mẫu thử
Quy trình chuẩn bị mẫu thử gồm cắt và may đường thử như sau:
-
Cắt sơ bộ: Chuẩn bị 5 mẫu vải ban đầu có kích thước 100 mm × 400 mm. Với hướng trượt dọc (warp slippage), lấy chiều rộng 100 mm theo chiều dọc (chiều sợi dọc) và dài 400 mm theo chiều ngang; với hướng trượt ngang (weft slippage), ngược lại. Không lấy mẫu trong vòng 150 mm tính từ mép vải và đảm bảo 5 mẫu đều lấy từ các vùng vải khác nhau.
-
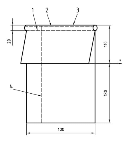
May đường may thử: Gấp đôi mỗi mẫu vải lại tại vạch 110 mm (gấp mặt vải vào trong). May một đường may khóa (lock stitch) cách nếp gấp 20 mm bằng mũi 301. Vẽ đường kẻ song song cách mép dài 38 mm để căn chỉnh vị trí kẹp mẫu sau này.
-
Cắt mẫu sau may: Sau khi may, cắt cả hai lớp vải cách đường may 12 mm (về phía mép gấp). Tiếp theo, từ mép gấp ban đầu, đo và cắt từng mẫu ở 110 mm về phía đường may. Kết quả là thu được hai mẫu thử cuối cùng dài 180 mm: một mẫu có đường may và một mẫu không có đường may (mẫu không có đường may thực chất là phần vải tương ứng cắt ra).
Quy trình thử nghiệm
-
Điều kiện và lắp mẫu: Sau khi đã chuẩn bị mẫu thử, để mẫu trong phòng điều kiện chuẩn (20°C, 65% RH) ít nhất 24 giờ. Mỗi lần thử lấy một cặp mẫu (một có đường may, một không).
-
Cài đặt máy thử: Đặt hai cặp kẹp của máy kéo sao cho khoảng cách lòng kẹp là (100 ± 1) mm và đồng thời kẹp phẳng, song song. Đảm bảo hai miếng mẫu được kẹp chắc chắn, vải không bị trượt trong kẹp. Đặt tốc độ nhấc (crosshead speed) của máy kéo là (50 ± 5) mm/phút. .
-
Thử mẫu không có đường may: Kẹp mẫu không có đường may sao cho tâm mẫu nằm giữa hai kẹp. Kéo mẫu cho đến khi lực kéo vượt 200 N. Nếu máy ghi biểu đồ, khởi đầu vạch ghi tại cùng một gốc như mẫu có đường may sau này. Ghi lại đường cong lực-biến dạng của phép kéo này.
-
Thử mẫu có đường may: Kẹp mẫu có đường may ở vị trí tương tự sao cho đường may ở giữa và song song với hai miệng kẹp. Kéo mẫu với các thiết lập tương tự đến khi lực vượt 200 N. Ghi lại đường cong lực-biến dạng; nếu dùng máy ghi, bắt đầu tại cùng điểm xuất phát. Đường cong này so sánh với đường cong của mẫu không có đường may.
-
Lặp lại: Thực hiện các bước trên cho toàn bộ 5 cặp mẫu (với cả hướng vải dọc và ngang). Kết quả sẽ thu được 5 cặp đường cong lực-biến dạng tương ứng với 5 mẫu trượt dọc và 5 cặp tương ứng với 5 mẫu trượt ngang.
Tính toán kết quả

-
Xác định lực tại khoảng cách mở: Với mỗi cặp đường cong (không may và có may), tính toán lực cần thiết để đạt một độ mở đường may nhất định. Nếu dùng máy ghi biểu đồ, thực hiện như sau (tham khảo Hình 3 của ISO 13936-1): đo khoảng cách x giữa hai đường cong tại mức lực 5 N để bù cho hiện tượng giãn ban đầu của mẫu. Sau đó cộng giá trị x với khoảng cách yêu cầu theo Bảng 2 (phụ thuộc độ mở mong muốn) để được khoảng cách cần đo z'. Tiếp theo, trên đồ thị của mỗi cặp mẫu, tìm điểm mà khoảng cách ngang giữa hai đường cong bằng z', và đọc lực kéo tương ứng (làm tròn đến 1 N).
-
Tính trung bình: Đối với cả hai chiều slippage (dọc và ngang), lấy giá trị trung bình của 5 kết quả đã đo và biểu thị kết quả trung bình này (làm tròn đến 1 N).
-
Trường hợp đặc biệt: Nếu khoảng cách mở mong muốn không thể đạt được ở lực ≤ 200 N, kết quả ghi là “≥ 200 N”. Nếu trong quá trình thử vải bị rách hoặc đường may đứt ở lực ≤ 200 N mà không thể xác định khoảng cách cần thiết, kết quả ghi “fabric breakdown” hoặc “seam breakdown” và ghi thêm giá trị lực xảy ra hỏng.
Báo cáo kết quả
Báo cáo thử nghiệm cần bao gồm các thông tin sau:
-
Tham chiếu đến tiêu chuẩn ISO 13936-1:2004 và ngày thực hiện thử.
-
Nhận dạng mẫu vải và phương pháp lấy mẫu (theo yêu cầu).
-
Độ mở đường may đã chọn (mm) để xác định lực.
-
Kết quả trung bình (N) của lực tại độ mở đã chọn, riêng cho trượt dọc và trượt ngang.
-
Kết quả từng mẫu thử (nếu cần thiết so sánh chi tiết).
-
Trường hợp ngoại lệ: nếu ghi “≥ 200 N” hoặc “fabric/seam breakdown”, nêu rõ kèm giá trị lực đo được tại lúc hỏng.
-
Mục đích sử dụng vải (nếu có) và bất kỳ sai khác nào so với quy trình chuẩn đã nêu.
-
Phương pháp tính toán kết quả (tính thủ công theo đồ thị hoặc dùng phần mềm).
Các thông tin trên đảm bảo người thực hiện phòng thí nghiệm có thể lặp lại quy trình thử độ trượt chỉ tại đường may theo chuẩn ISO 13936-1:2004 một cách đầy đủ và chính xác.